奶总管使用手册
前言
前言
管理端
系统配置—参数配置
(重要)
系统配置—站点管理图解
(重要)
系统配置—员工业务级别管理
系统配置—权限管理
(角色分配)
系统配置—员工管理
(账号添加 删除)
系统配置—小区管理(添加 删除)
产品管理—产品分类 上传 删除 价格体系设置
产品管理—套餐增加 删除 关闭
产品管理—优惠券添加 删除 下架
订单管理—查找客户订单信息
订单管理—暂停恢复配送
订单管理—调整配送(改口味 临时加减奶、配送员、调整时段)
订单管理—修改客户订单信息
订单管理—日志提醒(暂停/恢复 改口味 订单付款状态)
订单管理—退订
订单管理—试喝奶管理
客户管理—转移订单
客户管理—优惠券发放 删除
如何让站点具有审单权限
如何对报数数据进行统计
查询业务员业绩
(常用)
如何修改经销商供奶价格
如何管理微信菜单
配送端
如何申请试喝奶
(常用)
数据统计—配送量查询
(常用)
数据统计—业绩查询
(常用)
订单日志—记录订单变化
(重要)
如何变更配送
(常用)
如何调整配送路线
(常用)
录单错误如何修改
如何录单
(常用)
订奶用户
如何改口味
如何恢复配送
如何暂停配送
如何临时加减奶调整口味
奶总管使用说明文档
目录
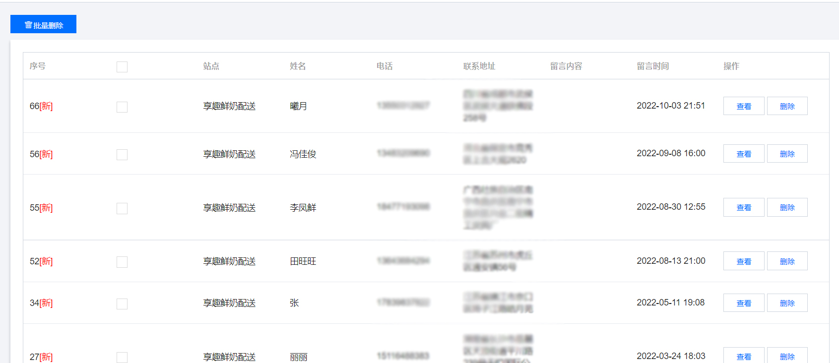
订单管理—试喝奶管理
订单管理—试喝奶申请管理
以上截图是通过小程序客户端申请的试喝奶客户。
奶总管
专注于鲜奶配送系统的研发,可提供
鲜奶配送系统
SAAS版以及鲜奶配送系统独立部署定制版,可长期提供技术支持,如有疑问可随时咨询在线客服人员:15616881988
上一篇:
订单管理—退订
下一篇:
客户管理—转移订单